| Hemmung | Datum | Erfinder | Bemerkungen |
|---|---|---|---|
| Ankerh. | 1786 | Jean Moise Pouzait 1753-1793 | Abb. |
| Ankerh. | 1867 | Georges Frédéric Roskopf (1813-1889) | Abb.; |
| Ankerh. | 5.4.1887 | Albert Henry Potter (1836-1908) | Patent US360474; einzähnig |
| Ankerh. | 15.11.1888 | Ferdinand Bachschmid | Patent CH58 |
| Ankerh. | 13.3.1889 | Louis-Camille Calame | Patent CH731; |
| Ankerh. | 31.5.1889 | Numa Robert-Waelti | Patent CH1032; |
| Ankerh. | 13.11.1889 | F.K. Kaltenthaler | Patent DE53362; vermind.Reib. |
| Ankerh. | 12.12.1889 | A. Kaiser | Patent CH1880; |
| Ankerh. | 5.4.1890 | Léon Vuilleumier | Patent CH1964; |
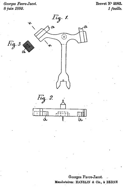
| Ankerh. | 8.6.1892 | Zenith | Patent CH5182; |
| Ankerh. | 25.2.1893 | Charles Chapuis | Patent CH6288; |
| Ankerh. | 22.9.1893 | Henri Audemars | Patent CH7300; |
| Ankerh. | 28.10.1896 | Paul Perret | Patent CH12666; |
| Ankerh. | 26.11.1903 | Studi & Fils | Patent CH29463; |
| Ankerh. | 28.11.1903 | Jules Juillerat-Berthoud | Patent CH29590; |
| Ankerh. | 5.1.1906 | Rosskopf & Co. | Patent CH35124 |
| Ankerh. | 28.5.1906 | Société d´Horlogerie de Granges | Patent CH36730 |
| Ankerh. | 26.3.1909 | Société Horlogèrie Reconvilier | Patent CH45805 |
| Ankerh. | 25.7.1916 | Charles E. De Long | Patent US1192812 |
| Ankerh. | 25.9.1922 | Georges Perrenoud | Patent CH101651; |
| Ankerh. | 6.10.1922 | Franz Hartmann u. Adolf Michel | Patent CH101653; Gabellos |
| Ankerh. | 25.10.1922 | Jules Pellaton | Patent CH101849; |
| Ankerh. | 14.5.1923 | Pierre Bauhain | Patent DE404684; |
| Ankerh. | 21.6.1925 | Théophile Defauw | Patent CH116856; federnd begr. |
| Ankerh. | 14.5.1926 | Otto Ahrens (1877-1944) | Patent CH116857; Ölbohrung |
| Ankerh. | 10.3.1932 | Junghans | Patent DE547261; ein Ankerstift, 2 Steigräder (eines innen u. eines aussenverzahnt) |
| Ankerh. | 14.1.1933 | Junghans | Patent DE590096; |
| Ankerh. | 4.5.1940 | Ambros Nirschl | Patent DE741882 |
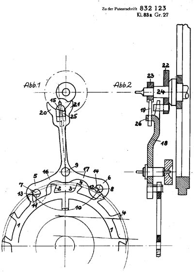
| Ankerh. | 23.6.1949 | Dipl.Ing. Emil Unterwagner | Patent DE832123; |
| Ankerh. | 2.9.1949 | Charles-Hilaire-Henri Rodanet | Patent CH281188; |
| Ankerh. | 3.11.1952 | Junghans | Patent DE1718940; |
| Ankerh. | 22.9.1953 | Jean Fink, GIBBS | Patent CH316831; |
| Ankerh. | 28.4.1959 | Emilie Borer, Aegler | Patent DE1151224; elast.Antrieb |
| Ankerh. | 30.9.1959 | Heinrich Stamm, ETA SA. | Patent CH357337; DE1192983; FR1263360; GB958126; US3077728 |
| Ankerh. | 1.8.1961 | Dr. Walter Schweizer, Kienzle | Patent DE1164329; |
| Ankerh. | 9.11.1961 | Paul Tuetey | Patent CH375277; |
| Ankerh. | 26.9.1962 | Jean-Claude Schneider, Tissot & Fils SA. | Patent CH395868; FR1439940; US3335562 |
| Ankerh. | 13.11.1962 | Georg Friedrich Wilhelm Garbe | Patent Ch553438; DE1523850; US3146581 |
| Ankerh. | 28.12.1962 | Langendorf | Patent CH386342; |
| Ankerh. | 24.1.1964 | Ariste O. Racine u. Samuel Fawer, Enicar | Patent DE1236419; |
| Ankerh. | 2.3.1970 | Robert R. Lawson | Patent US3583152; |
| Ankerh. | 6.12.1971 | Xavier Theurillat | Patent CH547516; Sekundensprung |
| Ankerh. | 19.4.1972 | Andre Simon-Vermot; Roland Dubois; Andre Lohri; Michel Oesch | Patent DE2219028; |
| Ankerh. | 19.7.1972 | Paul Tuetey | Patent DE2328074; |
| Ankerh. | 1.9.1972 | Francois Bonsack | Patent CH570644; DE2341478; verbreit. Eingangspal. |
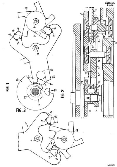
| Ankerh. | 12.10.1972 | Pierre Jeanmairet | Patent Ch578754; |
| Hemmung | Datum | Erfinder | Bemerkungen |
|---|---|---|---|
| Chronom.- Hemm. | 21.1.1868 | Albert Henry Potter (1836-1908) | Patent US73646; |
| Chronom.- Hemm. | 11.10.1875 | Albert Henry Potter (1836-1908) | Patent US168582; |
| Chronom.- Hemm. | 15.11.1888 | Jules Robert-Nicoud | Patent CH208; |
| Chronom.- Hemm. | 26.12.1888 | Clémence Frères | Patent CH258; |
| Chronom.- Hemm. | 7.5.1889 | Siegmund Riefler | Patent CH850; |
| Chronom.- Hemm. | 15.8.1891 | Louis-Philippe Robert | Patent CH3893; |
| freie Hemm. | 3.3.1894 | Félix Balavoine | Patent CH8007; |
| Hemmung | Datum | Erfinder | Bemerkungen |
|---|---|---|---|
| Cyl.- Hemm. | 23.5.1899 | Léon Marchand | Patent CH219236; |
| Cyl.- Hemm. | 26.9.1908 | Société d´Horlogerie de Granges | Patent CH244387; |
| Cyl.- Hemm. | 27.11.1913 | H. Wasner-Ruffier | Patent CH66767; |
| Cyl.- Hemm. | 30.12.1913 | Léon Tirolle | Patent CH68687; |
| Cyl.- Hemm. | 23.5.1914 | H. Wasner-Ruffier | Patent CH70646; |
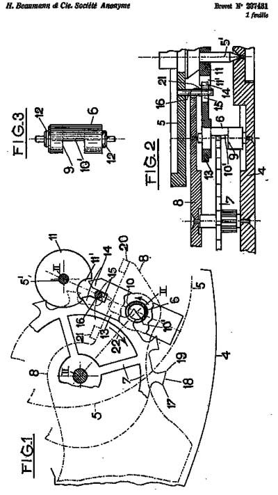
| Cyl.- Hemm. | 11.1.1944 | H. Beaumann | Patent CH237431; |
| Hemmung | Datum | Erfinder | Bemerkungen |
|---|---|---|---|
| Elektr.- Unruhe | 9.3.1937 | Alfred Beyer | Patent DE682134; elektromech. |
| Magnet- Pendel | 18.8.1932 | Charles Jean Victor Frey | Patent GB410732; |
| Hemmung | Datum | Erfinder | Bemerkungen |
|---|---|---|---|
| Pendel | 28.2.1894 | Ch. Boivin | Patent CH8002; |
| Pendel | 29.9.1899 | Usine de la Vièze | Patent CH18544; |
| Pendel | 12.12.1918 | Zenith | Patent CH80990; |
| Pendel | 15.6.1933 | Junghans | Patent DE579722; |
| Hemmung | Datum | Erfinder | Bemerkungen |
|---|---|---|---|
| Künsch- Hemmung | 12.12.1888 | Gottfried Künsch | Patent CH204; |
| Wüthrich- Hemmung | 24.4.1890 | Edouard Wüthrich | Patent CH2035; |
| Jequier- Hemmung | 10.1.1894 | Jules Jequier | Patent CH7837; |
| Nussbaum- Hemmung | 13.7.1895 | Tell Nussbaum | Patent CH10633; |
| Hillgrén- Hemmung | 23.8.1895 | Andreas Hillgrén | Patent CH10954; |
| Perdrizet- Hemmung | 20.5.1897 | Edmond Perdrizet | Patent CH14721; |
| Perdrizet- Hemmung | 7.6.1898 | Edmond Perdrizet | Patent CH17187; |
| Silbermann- Hemmung | 19.5.1900 | K. Silbermann | Patent CH19698; ohne Spiralfeder |
| Jequier- Hemmung | 6.3.1917 | Théodore Jequier | Patent CH75889; |
| Hilken- Hemmung | 9.7.1920 | Wilhelm Hilken | Patent CH90338; |
| Murayama- Hemmung | 21.2.1930 | M. Seizo Murayama | Patent FR690365; CH147513 |
| Fasoldt- Hemmung | 1.2.1859 | Charles Fasoldt (1818-1898) | Patent US22791; |
| Gleitscheiben- Hemmung | 11.10.1951 | Fritz Uebelacker | Patent DE850279; |